- Főoldal
- Termékeink
- Kompenzátorok
- Fém kompenzátorok
Fém kompenzátorok
- IPARI TÖMLŐK gumiból, műanyagból
- Fémtömlők
- Teflontömlők
- Norres tömlők, csatlakozók, bilncsek
- Tömlőcsatlakozók
- Tömlőbilincsek
- Tömlődobok, tömlőkocsik, tömlőtartók
- Gumilemezek
- Tisztítópisztolyok, mosópisztolyok, szórófejek
- Kompenzátorok
- Tartozékok, kellékek tömlőszereléshez
- Újdonságok
- Akciók, kifutó termékek
Fém kompenzátorok – Magas hőmérsékletre és nyomásra tervezve
A fém kompenzátorok elengedhetetlen alkatrészei a csővezeték-rendszereknek, különösen ott, ahol extrém hőmérséklet, nagy nyomás vagy agresszív közeg lép fel. Ezek az eszközök megbízhatóan kompenzálják a hőtágulásból, szerkezeti mozgásból vagy vibrációból adódó elmozdulásokat, és hosszú távon is megóvják a rendszert a sérülésektől.
Legfontosabb jellemzők:
-
Anyag: rozsdamentes acél (AISI 304, 316L stb.), hőálló acélok
-
Mozgástípusok: axiális, laterális, anguláris elmozdulások kompenzálása
-
Nyomástartomány: akár 40 bar üzemi nyomás
-
Hőmérsékleti ellenállás: akár 600 °C-ig
-
Kialakítás: egy- vagy többhullámos szerkezet, belső vezetőcsővel vagy anélkül
-
Csatlakozások: hegesztett végek, karimás kivitel vagy menetes csatlakozás
Előnyök:
-
Hosszú élettartam szélsőséges körülmények között is
-
Kiváló mechanikai szilárdság
-
Korrózióálló és karbantartásmentes kivitel
-
Egyedi gyártás is lehetséges igény szerint
Műszaki leírás:
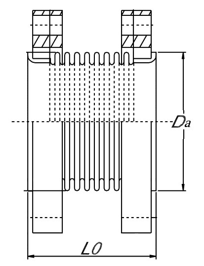
Alkalmazási területek: tengelyirányú elmozdulások, összenyomás, dilatáció elnyelését szolgálja merev csővezetékekben.
Kapható PN6; PN10; PN16; PN25 nyomásfokozatokra, Szénacél vagy nemesacél karimákkkal
Méret skála elérhető DN 500-ig vagy egyedi méretek ajánlatkérésre.
További műszaki adatért forduljon hozzánk.
Kompenzátor Axiálkompenzátor fémkompenzátor fémtömlő univerzálkompenzátor
PN 16 bar EN 1092
| DN | Mozgás kompenzáció (mm) |
L0 (mm) | Da (mm) | |
|---|---|---|---|---|
| 50 | +/- 11 | 141 | 89 | |
| 50 | +/- 21 | 230 | 91 | |
| 65 | +/- 14 | 148 | 108 | |
| 65 | +/- 24 | 220 | 110 | |
| 80 | +/- 11,5 | 148 | 122 | |
| 80 | +/- 25 | 220 | 123 | |
| 100 | +/- 15,5 | 155 | 150 | |
| 100 | +/- 26,5 | 230 | 152 | |
| 125 | +/- 10,5 | 142 | 172 | |
| 125 | +/- 21 | 184 | 172 | |
| 125 | +/- 29,5 | 244 | 174 | |
| 150 | +/- 12 | 147 | 203 | |
| 150 | +/- 24 | 192 | 203 | |
| 150 | +/- 33 | 246 | 205 | |
| 200 | +/- 15 | 158 | 260 | |
| 200 | +/- 30 | 212 | 260 | |
| 200 | +/- 48,5 | 374 | 262 | |
| 250 | +/- 16 | 189 | 318 | |
| 250 | +/- 28 | 246 | 318 | |
| 250 | +/- 51,5 | 373 | 320 |
PN 25 bar EN 1092
| DN | Mozgás kompenzáció (mm) |
L0 (mm) | Da (mm) | |
|---|---|---|---|---|
| 50 | +/- 6,5 | 128 | 90 | |
| 50 | +/- 14,5 | 187 | 91 | |
| 65 | +/- 8,5 | 134 | 109 | |
| 65 | +/- 20 | 222 | 111 | |
| 80 | +/- 11,5 | 152 | 123 | |
| 80 | +/- 21 | 222 | 125 | |
| 100 | +/- 11,5 | 144 | 151 | |
| 100 | +-/ 24 | 218 | 152 | |
| 125 | +/- 13 | 168 | 174 | |
| 125 | +/- 26 | 232 | 174 | |
| 150 | +/- 14,5 | 166 | 205 | |
| 150 | +/- 29 | 230 | 205 | |
| 200 | +/- 13 | 181 | 261 | |
| 200 | +/- 23 | 235 | 261 | |
| 200 | +/- 35,5 | 307 | 262 | |
| 250 | +/- 12 | 185 | 320 | |
| 250 | +/- 24 | 245 | 320 | |
| 250 | +/- 39,5 | 325 | 320 |
Több méretben is raktárról szállítható. A raktárkészlet időközbeni eladásának jogát fenntartjuk.
| DN | Beépítési hossz (mm) |
Belső ø (mm) |
Hullámok száma |
Tengelyirányú mozgás (mm) |
Cikkszám |
Ajánlatkérés a teljes méretskálára |
|---|---|---|---|---|---|---|
| 25 | 105 | 38 | 17 | +/-11 | 756117 | Ajánlatkérés |
| 32 | 105 | 42,2 | 17 | +/-10 | 756112 | Ajánlatkérés |
| 40 | 120 | 48,3 | 17 | +/-13 | 756111 | Ajánlatkérés |
| 50 | 150 | 60,3 | 20 | +/-20 | 756123 | Ajánlatkérés |
| 65 | 140 | 76,1 | 16 | +/-20 | 756122 | Ajánlatkérés |
| 80 | 155 | 88,9 | 15 | +/-25 | 756120 | Ajánlatkérés |
| 100 | 220 | 114,3 | 20 | +/-32 | 756126 | Ajánlatkérés |
| 125 | 190 | 139,7 | 16 | +/-33 | 756118 | Ajánlatkérés |
| 150 | 270 | 168,3 | 20 | +/-40 | 756125 | Ajánlatkérés |
| 200 | 275 | 219,1 | 16 | +/-33 | 756124 | Ajánlatkérés |
| 250 | 285 | 273 | 14 | +/-40 | 756121 | Ajánlatkérés |
Műszaki leírás:
Vibráció, összenyomás, rezgés és ütés elnyelését szolgálja merev csővezetékekben.
Több méretben is raktárról szállítható. A raktárkészlet időközbeni eladásának jogát fenntartjuk.
| DN | Beépítési hossz (mm) |
Hegtoldat külső ø (mm) |
Hullámok száma |
Tengelyirányú mozgás (mm) |
Cikkszám |
Ajánlatkérés a teljes méretskálára |
|---|---|---|---|---|---|---|
| 25 | 185 | 38 | 17 | 11 | 755115 | Ajánlatkérés |
| 32 | 185 | 42,4 | 17 | 10 | 755112 | Ajánlatkérés |
| 40 | 200 | 48,3 | 17 | 13 | 755113 | Ajánlatkérés |
| 50 | 270 | 60,3 | 20 | 20 | 755116 | Ajánlatkérés |
| 65 | 260 | 76,1 | 16 | 20 | 755117 | Ajánlatkérés |
| 80 | 275 | 88,9 | 15 | 25 | 755118 | Ajánlatkérés |
| 100 | 310 | 114,3 | 20 | 32 | 755126 | Ajánlatkérés |
| 125 | 310 | 139,7 | 16 | 33 | 755119 | Ajánlatkérés |
| 150 | 350 | 168,3 | 20 | 40 | 755124 | Ajánlatkérés |
| 200 | 330 | 219,1 | 16 | 33 | 755121 | Ajánlatkérés |
| 250 | 360 | 273 | 14 | 40 | 755120 | Ajánlatkérés |
Műszaki leírás:
Alkalmazási területek: tengelyirányú elmozdulások, összenyomás, dilatáció, elnyelését szolgálja merev csővezetékekben.
Kapható PN6; PN10; PN16; PN25 nyomásfokozatokra, Szénacél vagy nemesacél hegtoldatokkal
Méret skála elérhető DN 500-ig vagy egyedi méretek ajánlatkérésre.
További műszaki adatért forduljon hozzánk.
PN 16 bar
| DN | Mozgás kompenzáció (mm) |
L0 (mm) | Da (mm) | |
|---|---|---|---|---|
| 50 | +/- 11 | 214 | 89 | |
| 50 | +/- 21 | 303 | 91 | |
| 65 | +/- 14 | 220 | 108 | |
| 65 | +/- 24 | 292 | 110 | |
| 80 | +/- 11, | 220 | 122 | |
| 80 | +/- 25 | 292 | 123 | |
| 100 | +/- 15,5 | 225 | 150 | |
| 100 | +/- 29 | 314 | 152 | |
| 125 | +/- 10,5 | 218 | 172 | |
| 125 | +/- 21 | 260 | 172 | |
| 125 | +/- 32,5 | 336 | 174 | |
| 150 | +/- 12 | 221 | 203 | |
| 150 | +/- 24 | 266 | 203 | |
| 150 | +/- 36,5 | 336 | 205 | |
| 200 | +/- 15 | 234 | 260 | |
| 200 | +/- 30 | 288 | 260 | |
| 200 | +/- 48,5 | 450 | 262 | |
| 250 | +/- 16 | 256 | 318 | |
| 250 | +/- 28 | 332 | 318 | |
| 250 | +/- 51,5 | 440 | 320 |
PN 25 bar
| DN | Mozgás kompenzáció (mm) |
L0 (mm) | Da (mm) | |
|---|---|---|---|---|
| 50 | +/- 8,5 | 210 | 90 | |
| 50 | +/- 16 | 270 | 91 | |
| 65 | +/- 10,5 | 215 | 109 | |
| 65 | +/- 20 | 292 | 111 | |
| 80 | +/- 11,5 | 220 | 123 | |
| 80 | +/- 21 | 290 | 125 | |
| 100 | +/- 11,5 | 212 | 151 | |
| 100 | +-/ 24 | 286 | 152 | |
| 125 | +/- 13 | 240 | 174 | |
| 125 | +/- 26 | 304 | 174 | |
| 150 | +/- 14,5 | 240 | 205 | |
| 150 | +/- 29 | 304 | 205 | |
| 200 | +/- 13 | 252 | 261 | |
| 200 | +/- 23 | 324 | 261 | |
| 200 | +/- 35,5 | 378 | 262 | |
| 250 | +/- 12 | 240 | 320 | |
| 250 | +/- 24 | 300 | 320 | |
| 250 | +/- 39,5 | 380 | 320 |
A fém kompenzátorokat leggyakrabban ipari gőzvezetékekben, hőcserélőkben, energetikai rendszerekben, valamint vegyipari és petrolkémiai alkalmazásokban használják. A fémkompenzátorok többféle kialakításban és paraméterrel elérhetők, így fontos a pontos műszaki adatok egyeztetése. Webáruházunkban csak megbízható, iparban elismert gyártók termékeit kínáljuk.